-
Характеристики
Производитель Эван Площадь обогрева, м² 210 Теплообменник Да Страна Россия Гарантия мес 12 Напряжение В 380 Тип Одноконтурный Установка Настенный Циркуляционный насос нет Расширительный бак нет Стабилизатор напряжения нет Воздушный регулятор нет Микропроцессор да Дисплей нет Нагреваетльный элемент ТЭН Регулировка ТЭНа (мощности) ручная Защита от замерзания есть Материал теплообменника Сталь -
Описание
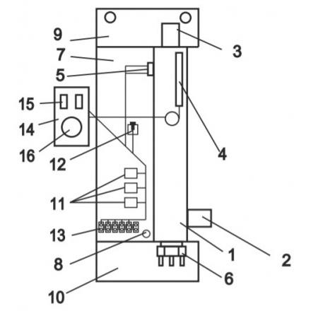
Электрический котел ЭВАН Next 21 — это мощное и надежное устройство для обогрева помещений площадью до 210 м², идеально подходящее для использования в частных домах и на дачах. Производителем этого котла является российская компания Эван, известная своим качественным и энергоэффективным оборудованием.
ЭВАН Next 21 — это одноконтурный настенный котел, работающий от трёхфазной сети с напряжением 380 В. Он предназначен исключительно для системы отопления и не поддерживает функцию горячего водоснабжения. Основным элементом системы является нагревательный элемент (ТЭН), который обеспечивает равномерный и быстрый нагрев теплоносителя, создавая комфортные условия в доме.
Котел оснащён стальным теплообменником, что делает его надёжным и долговечным. Сталь обладает высокой устойчивостью к коррозии и хорошей теплопроводностью, благодаря чему тепло передаётся быстро и эффективно. Это ключевой аспект, влияющий на долговечность и стабильность работы устройства.
Одним из преимуществ данной модели является наличие микропроцессора, который обеспечивает точное и гибкое управление всеми функциями котла. Микропроцессорный контроль улучшает общую энергоэффективность и помогает оптимизировать работу системы. Однако в котле отсутствуют встроенные циркуляционный насос и расширительный бак, что следует учесть при проектировании системы отопления — возможно, потребуется установить эти компоненты дополнительно.
Для управления мощностью ТЭНа предусмотрена ручная регулировка. Это позволяет пользователю самостоятельно настраивать интенсивность работы котла в зависимости от температуры в помещении и на улице, что помогает экономить электроэнергию.
Хотя модель не оснащена дисплеем, управление котлом остаётся интуитивно понятным и удобным благодаря продуманной системе настройки. Также котёл не имеет встроенного стабилизатора напряжения, что делает его чувствительным к перепадам в электросети. Для продления срока службы устройства рекомендуется предусмотреть установку стабилизатора отдельно.
Безопасность эксплуатации котла обеспечивается встроенной защитой от замерзания, что предотвращает повреждение системы при низких температурах. Эти функции делают устройство безопасным и надёжным даже в экстремальных условиях эксплуатации.
Компактный и лёгкий в установке ЭВАН Next 21 идеально впишется в ограниченное пространство, не занимая много места на стене. Этот котел является оптимальным выбором для владельцев загородных домов или больших дач, которые ищут надёжное, эффективное и безопасное отопительное оборудование.
ЭВАН Next 21 сочетает в себе высокую мощность, простоту эксплуатации и долговечность, что делает его отличным вариантом для обогрева больших площадей.
Электрический котел ЭВАН Next 21 купить в Молодечно с доставкой и рассрочкой платежа. -
Отзывы
-
Условия доставки и оплаты
Условия доставки Электрический котел ЭВАН Next 21 в Молодечно -
С этим товаром покупают
Гарантия и возврат
Амазонка бай реализует более 10 000 товаров надлежащего качества от проверенных поставщиков, зарекомендовавших себя как ТОП-производители. Гарантия производителя распространяется на гарантийный талон либо иной другой документ его заменяющий.
В случае возникновения гарантийного случая необходимо обратиться в сервисный центр или в наш отдел по рекламациям.
Какие гарантийные сроки?
В основном на продукцию распространяется гарантия от 12 месяцев до 25 лет в зависимости от срока, предусмотренного производителем. Данная информация указана в гарантийном талоне либо ином заменяющем его документе.
За более подробной информацией и разъяснениями можете обращаться к нам по телефону +375 (29) 8000 226. Всегда рады помочь!
Какая информация должна быть в гарантийном талоне?
Гарантия содержит информацию:
- дата реализации;
- модель товара;
- серию и номер.
В талоне проставляется штамп торгующей организации и печать ответственного лица.
Легкий возврат товара
Возврат некачественного товара.
Для возврата приобретенного недоброкачественного товара будет необходимо:
- связаться по телефону +375 (29) 8000 226 с отделом по рекламациям, объяснить причину поломки;
- предоставить документы, свидетельствующие о приобретении: кассовый чек, товарный чек, ТН, договор поставки и иные документы, доказывающие факт приобретения данного товара;
- оформление возврата некачественного товара - заявление;
- согласование возврата денежных средств либо замену товара.
Возврат товара надлежащего качества.
В случае возврата доброкачественного товара, потребитель осуществляет возврат в течение 14 календарных дней с момента приобретения. Товар должен быть в заводской упаковке, без повреждений, содержать все сопроводительные документы (гарантийный талон, паспорт изделия и т.д.) и иметь такой же вид, как при покупке.
Обращаем Ваше внимание, что возврат возможен не на все категории товаров. Перечень непродовольственных товаров надлежащего качества, не подлежащих обмену и возврату, утвержден Постановлением Совета Министров Республики Беларусь № 778 от 14.06.2002 года. (Изделия под заказ, отрезные товары)
Остались вопросы? Позвоните нам для уточнения +375 (29) 8000 226.
Простая замена товара
Я могу вернуть доброкачественный товар?
Да. Если Вы приняли решение вернуть качественный товар, такая возможность действует в течение 14 календарных дней со дня приоретения. Внимание! Товар должен иметь продажный вид как при покупке, без следов эксплуатации.
Однако вернуть можно не все покупки. Перечень непродовольственных товаров надлежащего качества, не подлежащих обмену и возврату, утвержден Постановлением Совета Министров Республики Беларусь № 778 от 14.06.2002 года. Обмен и возврат продукции осуществляется на территории продавца.
Как вернуть недоброкачественный товар?
Для возврата товара ненадлежащего качества требуется:
- обратиться к торговой организации;
- предъявить документы, подтверждающие покупку;
- обязательно предоставить заявление на возврат;
- обговорить возврат средств с менеджером.
Необходимо некачественный товар вернуть по месту расположения продавца.
Кредит и рассрочка товара
Порядок действий для рассрочки:
- 1. Клиент выбирает товар в интернет-магазине.
- 2. Определяется и согласовывает с менеджером сроки и условия рассрочки.
- 3. В зависимости от выбранных условий направляется заявка в банк.
- 4. Банк оперативно рассматривает заявку.
- 5. После подтверждения рассрочки доставляем товар покупателю.

* Скидки и акции при рассрочке не действуют

* Скидки и акции при рассрочке не действуют
название | в месяц | итого | |
---|---|---|---|
Карта Черепаха (8 мес.) | 223 | 1 785 | |
Альфа-рассрочка (5 мес.) | 357 | 1 785 | |
Халва (4 мес.) | 446 | 1 785 | |
Легкие покупки (4 мес.) | 446 | 1 785 | |
Карта покупок (2 мес.) | 893 | 1 785 |